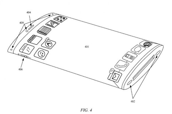
如果该款iPhone手机在未来某个时间点发布(该产品的开发尚未得到苹果公司的正式确认,而且目前正处于专利申请阶段),那么它的独特性能就是能覆盖手机正面、背面以及连同侧面的显示屏。与此同时,完全是玻璃机身。
据悉,在屏幕上会有许多传感器,它们能注意到用户的目光所致,以识别出他要看手机的哪一面。
在苹果公司的专利申请中称,该公司“正在致力于寻求将一些还未被使用的电子设备的功能最大化”。这款被屏幕包裹的手机并不是什么神奇的东西。今年,小米公司就推出了Mi Mix Alpha手机。它的外观就很像苹果公司专利申请中的方案。




京公网安备11010502053235号